Hyundai Elantra: Удаление воздуха из гидросистемы усилителя рулевого управления
1. Заполните бачок гидросистемы усилителя рекомендуемой жидкостью до метки "МАХ".
2. Вывесите передние колеса автомобиля.
3. Отсоедините провода высокого напряжения от катушек зажигания. Прокручивайте коленчатый вал двигателя несколькими кратковременными включениями стартера при постоянных поворотах рулевого колеса влево и вправо до упора пять или шесть раз в течение 15-20 секунд.
ПРИМЕЧАНИЕ
1. Во время удаления воздуха необходимо постоянно доливать жидкость и следить, чтобы ее уровень не опускался ниже нижнего положения фильтра.
2. Если удаление воздуха производить при работающем двигателе, то произойдет подсос воздуха и его попадание в рабочую жидкость.
Поэтому удаление воздуха из гидросистемы необходимо производить только при проворачивании коленчатого вала двигателя стартером.
4. Подсоедините провода высокого напряжения к катушкам зажигания, затем запустите двигатель и оставьте его работать на холостом ходу.
5. Поворачивайте рулевое колесо от упора до упора до исчезновения пузырьков воздуха в бачке гидросистемы усилителя.
ПРИМЕЧАНИЕ
Не удерживайте рулевое колесо в крайнем положении (повернуто до упора) более 10 секунд.
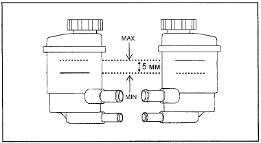
6. Убедитесь в том, что рабочая жидкость прозрачна, без помутнения, и ее уровень в бачке находится между метками "МАХ" и "MIN" на стенке бачка.

7. Убедитесь в незначительном изменении уровня жидкости в бачке при левых и правых поворотах рулевого колеса.
ПРИМЕЧАНИЕ
1. Если уровень жидкости изменяется более чем на 5 мм, то необходимо произвести удаление воздуха из гидросистемы усилителя повторно.
2. Если уровень жидкости резко повышается после остановки двигателя, то значит воздух из гидросистемы удален не полностью.
3. При неполном удалении воздуха из гидросистемы усилителя рулевого управления будут возникать посторонние дребезжащие шумы от насоса гидроусилителя и клапана регулирования расхода жидкости, что приведет к сокращению срока службы насоса и других элементов гидросистемы.
Замена рабочей жидкости
1. Вывесите передние колеса автомобиля и установите предохранительные стойки
под автомобиль.
2. Отсоедините возвратный шланг от бачка гидросистемы усилителя и закройте пробкой
штуцер бачка.
3. П ...
Проверка давления насоса гидроусилителя рулевого управления
1. Отсоедините нагнетательный шланг от насоса гидроусилителя. Подсоедините специальные
приспособления между нагнетательным шлангом и насосом гидроусилителя, как показано
на рисунке.
2. Удалите ...
Другое на сайте:
Клапанные пружины. Уплотнения стержней клапанов
Снять или отсоединит.
ПОРЯДОК ВЫПОЛНЕНИЯ.
1. Крышку 6 корпуса распредвала..
2. Клапан рециркуляции отработавших газов для установки монтажного.
приспособления..
3. Свечи зажигания
20. Для удерж ...
Системы впуска и выпуска - установка впускного коллектора
1. Замените прокладку впускного коллектора новой и установите впускной коллектор
на место.
ВНИМАНИЕ
Будьте осторожны, не уроните форсунки при установке топливного коллектора.
2. Установите топ ...
Снятие и установка рычага и троса стояночного тормоза
Рычаг стояночного
тормоза с элементами крепления 1 – рычаг стояночного тормоза Перед снятием снимите
центральную консоль. 2 – стопорная шайба 3 – облицовка рычага стояночного тормоза.
Снимается ...
