Nissan Sunny: Система контроля над выделением паров топлива из топливной системы
ОБЩИЕ СВЕДЕНИЯ
МОДЕЛИ С КАРБЮРАТОРНЫМ ДВИГАТЕЛЕМ
Идентификация
соединений шлангов угольного фильтра
Проверка
ПОРЯДОК ВЫПОЛНЕНИЯ
1. Если Вы считаете, что система неисправна, отсоедините шланги от угольного фильтра и термовакуумного клапана, и продуйте их.
2. Для проверки термовакуумного клапана, который установлен на правой стороне впускного коллектора, когда двигатель холодный отсоедините от клапана оба шланга. Подсоедините шланг к одному из патрубков клапана и подуйте в него. Клапан должен быть закрыт и не должен пропускать воздух. Запустите двигатель и прогрейте его до нормальной рабочей температуры. Снова подуйте в шланг; клапан должен быть открыт и воздух должен проходить свободно. Если клапан не работает так, как было описано выше, замените его.
3. Угольный фильтр расположен в правом заднем углу двигательного отсека. Угольный фильтр и его клапана можно проверить следующим образом.
4. Пройдитесь вдоль шланга "А" от угольного фильтра и отсоедините его от тройникового соединения. Запустите двигатель и попробуйте втянуть в себя воздух из шланга; клапан не должен пропускать воздух, а скорость работы двигателя должна немного увеличиться. Подсоедините шланг обратно к тройниковому соединению.
5. Пройдитесь вдоль шланга "С" от угольного фильтра и отсоедините его от поплавковой камеры карбюратора. Запустите двигатель и подуйте в шланг; клапан не должен пропускать воздух. Подсоедините шланг обратно к карбюратору.
6. Пройдитесь вдоль шланга "В" от угольного фильтра и отсоедините его от впускного коллектора. Когда двигатель заглушен, подуйте в шланг и потяните в себя воздух из шланга; клапан не должен пропускать воздух ни в одном направлении. Подсоедините шланг обратно к впускному коллектору.
7. Если при проведении проверок, описанных в пп. 4–6, была утечка воздуха через какой-либо из шлангов, угольный фильтр и его клапана необходимо заменить.
МОДЕЛИ "PHASE I" (МОДЕЛЬ ВЫПУСКА 1993 ГОДА, ДО ИЮНЯ) С ДВИГАТЕЛЕМ ОБЪЕМОМ 2,0 Л И МНОГОТОЧЕЧНОЙ СИСТЕМОЙ ВСПРЫСКА ТОПЛИВА Проверка
ПОРЯДОК ВЫПОЛНЕНИЯ
1. Если Вы считаете, что система неисправна, отсоедините шланги от угольного фильтра, установленного в правом заднем углу двигательного отсека, и продуйте их.

2. Угольный фильтр и его клапана можно проверить следующим образом. Отсоедините шланги от угольного фильтра и подуйте в патрубок "А"; клапан не должен пропускать воздух. Продуйте каждый из патрубков "В" по очереди. Оба канала должны быть открыты, и свободно пропускать воздух. Если проверки не дали ожидаемых результатов, угольный фильтр и клапана необходимо заменить.
ВСЕ ОСТАЛЬНЫЕ МОДЕЛИ С ВСПРЫСКОМ ТОПЛИВА Проверка
ПОРЯДОК ВЫПОЛНЕНИЯ
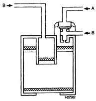
1. Если Вы считаете, что система неисправна, отсоедините шланги от угольного фильтра и электромагнитного клапана, и продуйте их. На моделях с двигателем объемом 1,6 литра, угольный фильтр расположен в левом заднем углу двигательного отсека, а электромагнитный клапан расположен на задней стороне впускного коллектора. На моделях с двигателем объемом 2,0 литра, угольный фильтр расположен на левой стороне двигательного отсека, а электромагнитный клапан расположен на левой или нижней стороне впускного коллектора.

2. Электромагнитный клапан можно проверить используя приведенную схему соединений.
Если необходимо, снимите клапан, руководствуясь инструкциями, приведенными в подразделе 6.4.2.3.3, для улучшения доступа.
3. Подуйте в патрубок "А" и проверьте, чтобы через него не проходил воздух. Подуйте в патрубок "В" и проверьте, чтобы воздух проходил через этот патрубок и выходил из патрубка "С".
4. Через предохранитель подсоедините источник питания на 12 Вольт к электромагнитному клапану так, как показано на рисунке. После подачи напряжения, подуйте в патрубок "А" и проверьте, чтобы воздух проходил через клапан и выходил из патрубка "В". Подуйте в патрубок "В" и проверьте, чтобы воздух проходил через клапан и выходил из патрубка "С".
5. Если электромагнитный клапан не работает так, как ожидалось, значит, он неисправен, и его необходимо заменить.
6. Угольный фильтр и клапана можно проверить так, как описано выше.
Каталитический конвертер
ОБЩИЕ СВЕДЕНИЯ
Каталитический конвертер – это надежное и простое устройство, которое не требует
технического обслуживания.Однако, есть факты, о которых владелец автомобиля должен
знать, если хоче ...
Угольный фильтр
ОБЩИЕ СВЕДЕНИЯ
Угольный фильтр
– модели с двигателем объемом 1,6 л и электронным вспрыском топлива Угольный
фильтр расположен или в правом заднем углу двигательного отсека или на левой стороне
...
Другое на сайте:
Проверка натяжения ремня привода насоса гидроусилителя рулевого управления
1. Нажмите на клиновой ремень привода насоса гидроусилителя рулевого управления
с усилием 98 Н в точке, указанной на рисунке, и проверьте, что прогиб ремня соответствует
номинальному значению.
...
Демонтаж клапанов
Разобрат.
ПОРЯДОК ВЫПОЛНЕНИЯ.
Снять клапаны и клапанные пружины..
Предупреждение.
При разборке механизма газораспределения необходимо сохранить комплектацию.
деталей в отдельных группах и при сбо ...
Каркас для перевозки багажа (кузов Универсал)
Направляющие на крыше можно использовать в качестве каркаса багажника, для чего
прикрепите две поперечины производства фирмы Toyota или эквивалентные.
При установке поперечин руководствуйтесь инс ...
