Nissan Sunny: Регулировка сцепления
ОБЩИЕ СВЕДЕНИЯ

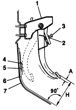
Регулировка высоты
педали сцепления Н. Высота педали А. Свободный ход педали сцепления
1. Кронштейн
Насосы вакуумные роторные купить пластинчато роторный масляный вакуумный насос купить.2. Контргайка
3. Регулировочный болт
4. Коврик
5. Гидроизоляция
6. Противошумная накладка
7. Пол
Регулировка сводится к проверке и выставлению высоты и свободного хода педали.
ПОРЯДОК ВЫПОЛНЕНИЯ
1. Сняв коврик в области ног водителя, измерьте расстояние от пола кузова до педали.
2. Если измеряется расстояние до коврика, то к результату прибавьте толщину коврика.
3. Если расстояние отличается от нормативного, то отверните контргайку регулировочного болта (или датчика выключения сцепления) и вращайте болт (или датчик) до получения нужного расстояния.
4. После регулировки затяните гайку с заданным моментом.
5. Для расширения пространства снимите нижнюю переднюю панель.
6. Проверьте свободный ход педали.
7. Нажмите на педаль пальцем и измерьте расстояние до ощущения слабого сопротивления перемещению.

8. При необходимости регулировки отпустите контргайку троса на рычаге вилки выключения сцепления (работая внутри моторного отсека) и вращая гайку с накаткой, отрегулируйте ход рычага до нормы (2,5–3,5 мм).
9. Снова проверьте свободный ход педали и затяните контргайку.
10. Установите все снятые детали.
Технические данные
ОБЩИЕ СВЕДЕНИЯ
Тип Сухое, однодисковое с диафрагменной нажимной пружиной и тросовым приводом Регулировочные
данные Расстояние от педали до пола кузова: – в а/м с правым рулем 178 – 188 мм
– в а/м ...
Трос сцепления
ОБЩИЕ СВЕДЕНИЯ
Рычаг находится в верхней части трансмиссии. Снятие
ПОРЯДОК ВЫПОЛНЕНИЯ
1. Найдите трос сцепления и отпустите контргайку оболочки троса и регулировочную
гайку с рифленым венцом.
...
Другое на сайте:
Задняя дверь - Сборка дверного замка
ПОРЯДОК ВЫПОЛНЕНИЯ.
1. Смазать консистентной смазкой внутреннюю поверхность отверстия корпуса замка
и вставить в него цилиндр с ключом..
2. Установить возвратную пружину на верхнюю часть корпуса з ...
Технические операции на автомобиле - проверка клапанов крышки радиатора
1. Используйте специальный переходник для подсоединения крышки радиатора к тестеру.
2. Увеличивайте давление до тех пор, пока стрелка манометра не остановится (давление
открытия клапана).
Давление ...
Замена вкладышей
ОБЩИЕ СВЕДЕНИЯ
Измерение зазора коренного подшипника
Монтаж упорных подшипников коленчатого вал.
1. УПОРНЫЕ БУРТИКИ СРЕДНЕГО КОРЕННОГО ПОДШИПНИК.
2. ДЕРЕВЯННЫЙ БРУСОК
Измерение осе ...
