Daewoo Nexia: Проверка углового положения распределительного вала
ОБЩИЕ СВЕДЕНИЯ.
При проведении операций, связанных с демонтажом и монтажом зубчатого ремня,.
головки цилиндров, распредвала или коленчатого вала, необходимо контролировать натяжение зубчатого ремня.

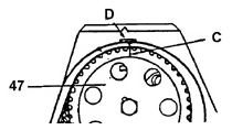
Правильное угловое положение распредвала
47. ЗУБЧАТОЕ КОЛЕСО РАСПРЕДВАЛА.
С. МЕТКА НА ЗУБЧАТОМ КОЛЕС.
D. МЕТКА НА ЗАДНЕЙ КРЫШКЕ
Проверит.
ПОРЯДОК ВЫПОЛНЕНИЯ.
1. Провернуть коленчатый вал за головку болта зубчатого колеса, чтобы поршень первого цилиндра установился в положение 10° до ВМТ. Метка А на шкиве коленчатого.
вала должна совпасть с указате лем В на задней крышке зубчатого ремня (см. рис. Установка коленчатого вала по метке на шкиве и рис. Правильное угловое положение распредвала)..
2. Правильное угловое положение распредвала проверяется по совпадению меток С и D, расположенных соответственно на зубчатом колесе распредвала и задней крышке ремня.
Регулировка натяжения зубчатого ремня
ОБЩИЕ СВЕДЕНИЯ
Установка коленчатого вала по метке на шкиве ...
Переднее уплотнение коленчатого вала
ОБЩИЕ СВЕДЕНИЯ
Монтаж переднего уплотнения коленчатого вал.
137. МАСЛЯНЫЙ НАСОС
Снять или отсоединит.
ПОРЯДОК ВЫПОЛНЕНИЯ.
1. Зубчатое колесо
141..
2. Шпонку 129 и упорную шайбу
140 ...
Другое на сайте:
Проверка величины усилия при повороте рулевого колеса на неподвижном
автомобиле
1. Расположите автомобиль на ровной горизонтальной площадке и установите управляемые
колеса в положении прямолинейного движения.
2. Увеличьте частоту вращения коленчатго вала двигателя до 900 - 110 ...
Проверка уровня жидкости в автоматической трансмиссии (обслуживание через каждые
15000 км или 6 месяцев)
ПОРЯДОК ВЫПОЛНЕНИЯ
1. Совершите короткую поездку, чтобы прогреть трансмиссионную жидкость до рабочей
температуры, после чего установите автомобиль на ровной площадке. Уровень трансмиссионной
жидк ...
Замена охладителя масла (дизельные двигатели)
ПОРЯДОК ВЫПОЛНЕНИЯ
Детали системы
смазки дизельного двигателя 1 – маслосливная пробка; 2 – уплотнительное кольцо;
3 – масляный картер; 4 – болт крепления картера; 5 – прокладка картера; 6 – ма ...
