Audi A3: Снятие и установка передней двери и держателя регулировочных элементов
Передняя дверь
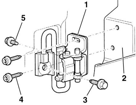
1 – держатель 2 – болт, 30 Н•м. М8 х 26 3 – болт, 30 Н•м. М8 х 32 4 – регулировочный
клин. Должен быть всегда установлен 5 – дверь. Дверь может быть снята также без
снятия держателя регулировочных элементов 6 – болт, 30 Н•м 7 – регулировочный клин.
Должен быть всегда установлен 8 – щиток бокового упора 9 – трос привода 10 – болт,
30 Н•м. М8 х 26 11 – стопорная тяга
СНЯТИЕ
ВНИМАНИЕ
Дверь может быть снята также без снятия держателя регулировочных элементов. В этом случае не требуется снимать держатель.ПОРЯДОК ВЫПОЛНЕНИЯ
1. Снимите облицовку двери, обратитесь к подразделу Снятие и установка облицовки двери.
2. Снимите облицовку стойки А (внизу), обратитесь к подразделу Снятие и установка облицовки стойки А.
3. Отсоедините электрические провода и вакуумный шланг единого замка от держателя –1–.
4. Отсоедините трос –9– от держателя.
5. Выверните болты (2, 3, 6 и 10). При этом снимите регулировочные клинья –4– и –7–.
6. Выньте вверх держатель регулировочных элементов.
7. Снимите кожух между дверью и стойкой А.
8. Снимите втулку у стойки А.
9. Выньте электрические провода и вакуумный шланг единого замка из стойки А.
10. Отсоедините электрические провода и вакуумный шланг у стойки А. Отсоедините штекер шланга единого замка, обратитесь к подразделу Единый замок – общие сведения и вакуумные шланги.
11. Следите за тем, чтобы разъем не соскользнул в стойку А. Закрепите его прищепкой.
12. Попросите ассистента поддержать дверь.
1 – болт, устанавливается
изнутри, 30 Н•м 2 – петля двери верхняя 3 – крышка, 23 Н•м 4 – болт, 30 Н•м 5 –
винт Torx, 30 Н•м
1 – петля нижняя
2 – дверь передняя 3 – болт, 30 Н•м 4 – винт Torx, 30 Н•м 5 – болт, 30 Н•м
13. Отверните винты Тоrx Т45 со стороны двери у петель сверху и снизу.
14. Снимите дверь с помощью ассистента.
УСТАНОВКА
ПОРЯДОК ВЫПОЛНЕНИЯ
1. Установите дверь с помощью ассистента в петли и закрепите винтами Тоrx Т
45. Момент затяжки 30 Н•м.
2. Вставьте электрические провода и вакуумный шланг единого замка в разъем стойки А.
3. Вставьте электрические провода и вакуумный шланг в стойку А.
4. Закрепите втулки в стойку А.
5. Вставьте кожух между дверью и стойкой А.
6. Введите держатель сверху в дверь.
7. Закрепите держатель болтами. Не забудьте о регулировочных клиньях болтов –3– и –6–, обратитесь к иллюстрации. Последовательность затяжки: (2, 10, 6, 3). Момент затяжки 30 Н•м. Регулировка клиньев рассмотрена в подразделе Регулировка двери.
8. Соедините трос –9– с держателем.
9. Соедините электрические провода и вакуумный шланг единого замка, уложите их и закрепите, обратитесь к подразделу Единый замок – общие сведения и вакуумные шланги.
10. Отрегулируйте дверь.
11. Установите облицовку стойки А, обратитесь к подразделу Снятие и установка облицовки стойки А.
12. Установите облицовку двери, обратитесь к подразделу Снятие и установка облицовки двери.
Регулировка кнопки разблокировки
ПОРЯДОК ВЫПОЛНЕНИЯ
Кнопки разблокировки в заблокированном состоянии должны выступать на 0 – 2 мм. ...
Регулировка двери
Регулировка замкового
элемента двери
Регулировка двери по глубине установки замковым элементом
ПОРЯДОК ВЫПОЛНЕНИЯ
1. Немного отверните винты замкового элемента.
2. Закройте дверь.
3. Путем ...
Другое на сайте:
Осмотр автомобиля
ОБЩИЕ СВЕДЕНИЯ.
Для обеспечения безопасности движения и надежности автомобиля рекомендуется перед.
началом поездки провести контрольный осмотр в следующем порядке.
Наружный осмотр.
1. Проверьте да ...
Параметры установки распределения звука и громкости
Параметры установки звука (низкие/высокие частоты) можно настраивать отдельно
для каждого источника звука (радио, кассета, многодисковый проигрыватель компакт-дисков).
Параметры распределения гром ...
Правильный выбор системы
Как можно дольше ребенок должен
ездить в автомобиле лицом против
движения. Кресло необходимо заменить, когда ребенок вырастет
настолько, что его голова на
уровне глаз уже не будет опираться о спин ...
