Nissan Sunny: Впускной коллектор
Снятие
ПОРЯДОК ВЫПОЛНЕНИЯ
1. Снимите корпус дроссельной заслонки, руководствуясь инструкциями, приведенными в подразделе 6.3.1.
11.
2. Слейте охлаждающую жидкость из системы охлаждения, руководствуясь инструкциями, приведенными в подразделе 2.4.5.
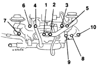
3. Запомните или пометьте положение установки всех вакуумных шлангов и шлангов системы охлаждения впускного коллектора.
4. Отсоедините их от впускного коллектора и, если необходимо, от соответствующих вакуумных клапанов.
5. Для того, чтобы не перепутать шланги при установке, пометьте каждый из шлангов при снятии.
6. На моделях с каталитическим конвертером открутите гайку соединения и отсоедините трубку рециркуляции выхлопных газов, соединяющую впускной и выпускной коллекторы, от клапана на левой стороне впускного коллектора.
7. Отсоедините разъем подключения от датчика температуры охлаждающей жидкости на правой стороне коллектора.
8. Если необходимо, открутите крепежные болты и отсоедините провод (массы( от впускного коллектора.
9. Открутите крепежные болты и снимите крепежный кронштейн сзади впускного коллектора.
10. Проверьте, чтобы все вакуумные/ вентиляционные шланги были отсоединены от впускного коллектора.

11. В обратном порядке открутите и снимите крепежные гайки и болты.
12. Снимите впускной коллектор с головки блока цилиндров и достаньте его из двигательного отсека, затем снимите прокладку впускного коллектора и выбросите ее.
Установка
ПОРЯДОК ВЫПОЛНЕНИЯ
1. Установка проводится в обратном порядке снятия.
2. При установке обратите внимание на следующие моменты.
3. Проверьте, чтобы соприкасающиеся поверхности впускного коллектора и головки блока цилиндров были чистыми и сухими, и установите новую прокладку на болты головки блока цилиндров.

4. Установите впускной коллектор и затяните крепежные гайки и болты до требуемого момента затяжки в указанном порядке.
5. Проверьте, чтобы все соответствующие шланги были подсоединены правильно и надежно крепились (где необходимо) при помощи крепежных хомутов.
6. Установите корпус дроссельной заслонки, руководствуясь инструкциями, приведенными в подразделе 6.3.1.
11.
7. По завершении установки залейте охлаждающую жидкость в систему охлаждения.
Выключатель в системе кондиционирования воздуха
ОБЩИЕ СВЕДЕНИЯ
Выключатель установлен в трубке кондиционера, в левом переднем углу двигательного
отсека.При снятии и установке выключателя необходимо разряжать и повторно заряжать
систему кондици ...
Модели с многоточечным электронным впрыском топлива
ОБЩИЕ СВЕДЕНИЯ
Система питания состоит из топливного бака, установленного под днищем в задней части
автомобиля, электрического топливного насоса, установленного в топливном баке, топливного
фильт ...
Другое на сайте:
Подголовники передних
сидений
Регулировка высооты
Вытяните подголовник вверх.
Чтобы опустить подголовник, нажмите пружину фиксатора и надавите на подголовник вниз.
Регулировка горизонтального
положения
Потяните подголов ...
Ремонт резьбовых отверстий
ОБЩИЕ СВЕДЕНИЯ
Ремонт резьбовых отверстий
Предупреждение.
Во избежание травмирования глаз использовать защитные очки..
Дефектные резьбовые отверстия могут быть отремонтированы путем рассверливан ...
Режим CD-чейнджера
ПРИМЕЧАНИЕ
• Информацию по обращению с компакт-дисками, их загрузке, а также управлению CD-чейнджером
можно найти в инструкции по эксплуатации, поставляемой с CD-чейнджером.
ПЕРЕХОД В РЕЖИМ CD- ...
