Nissan Sunny: Снятие коленвала
ПОРЯДОК ВЫПОЛНЕНИЯ
1. Снимите масляный поддон, цепь (или цепи) и маховик.
2. Снимите шатуны с поршнями.
Предупреждение Если с поршнями и шатунами никаких ремонтных работ выполняться не будет, то снимать головку цилиндров и шатунно-поршневую группу нет необходимости. Поршни следует лишь втолкнуть в сторону камер сгорания.
3. Проверьте осевой люфт коленвала (см. подраздел 3.1.2.9.2), после чего выполните следующие операции.
4. Отверните болты и снимите держатель заднего сальника. При ослаблении направляющих штифтов снимите их и храните вместе с держателем.

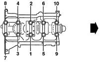
5. Крышки коренных подшипников должны быть пронумерованы от 1 до 5, начиная с передней крышки (стрелки). Если номера отсутствуют, то нанесите белой краской метки, которые соответствуют порядковому номеру крышки и определяют ее ориентацию.

6. В последовательности, обратной указанной на рисунке, отверните болты крепления крышек коренных подшипников, делая 1/2 оборота за прием. Достаньте болты.
7. Снимите крышки и достаньте вкладыши коренных подшипников. Приклейте лентой каждый вкладыш к соответствующей крышке.
8. Осторожно достаньте коленвал, при этом смещение верхних вкладышей коренных подшипников не допускается.
9. Достаньте из блока цилиндров верхние коренные вкладыши. Приклейте лентой каждый вкладыш к соответствующей крышке. Снимите упорные полукольца с 3-го вкладыша.
Поршни и шатуны
Снятие
ПОРЯДОК ВЫПОЛНЕНИЯ
1. Снимите цепи, головку цилиндров и масляный поддон.
2. Если в верхней части цилиндров образовался буртик, то его надо снять разверткой
или шабером, не повредив при эт ...
Проверка коленвала
Проверка осевого люфта
ПОРЯДОК ВЫПОЛНЕНИЯ
1. Осевой люфт проверяется до снятия коленвала с двигателя и может свободно вращаться
в коренных подшипниках.
2. Осевой люфт проверяется с помощью стр ...
Другое на сайте:
Неисправности и самостоятельная диагностика
Блок управления системы впрыска может распознавать и записывать в памяти часть
неисправностей, возникающих во время эксплуатации двигателя. Данные накопителя неисправностей
считываются с помощью с ...
Элементы системы впрыска топлива (двигатели объемом 2,0 л)
ОБЩИЕ СВЕДЕНИЯ
На автомобилях с двигателем объемом 2,0 литра, модель автомобиля ("Phase I" или
"Phase II") можно определить по форме впускного коллектора.На моделях "Phase ...
Ступица переднего колеса и поворотный кулак - проверка, сборка
ПРОВЕРКА
1. Проверьте ступицу на отсутствие трещин и шлицы ступицы на отсутствие чрезмерного
износа.
2. Проверьте тормозной диск на отсутствие задиров и повреждений.
3. Проверьте поворотный кула ...
