Nissan Sunny: Система улавливания паров бензина
КАРБЮРАТОРНЫЕ ДВИГАТЕЛИ Проверка
ПОРЯДОК ВЫПОЛНЕНИЯ
1. Отсоедините шланги от бачка и термовакуумного распределительного клапана (ТВР) и продуйте.
2. ТВР ввернут в правой части всасывающего коллектора. На холодном двигателе отсоедините оба шланга от ТВР. Продуйте ТВР, присоединяя вспомогательный шланг к штуцерам. Воздух должен проходить через ТВР только на прогретом двигателе.

3. Бачок смонтирован в задней левой части моторного отсека.
4. Отсоедините шланг А со стороны тройника. На работающем двигателе создайте разрежение на шланге, – при этом обороты двигателя должны слегка возрасти, утечки в шланге быть не должно. Присоедините шланг на место.
5. Отсоедините от карбюратора шланг С и продуйте на работающем двигателе, – утечки быть не должно. Присоедините шланг на место.
6. Патрубок воздухоочистителя. Отсоедините от коллектора шланг В, продуйте шланг и создайте разрежение в шланге на неработающем двигателе, – утечки быть не должно. Присоедините шланг на место.
7. Если при проверках по пп. 4–6 появляется отрицательный результат, то бачок следует заменить.
ИНЖЕКТОРНЫЕ ДВИГАТЕЛИ Проверка
ПОРЯДОК ВЫПОЛНЕНИЯ
1. Отсоедините все шланги от бачка и соленоидного клапана и продуйте. Бачок смонтирован в задней левой части моторного отсека. Клапан ввернут в задней части всасывающего коллектора.

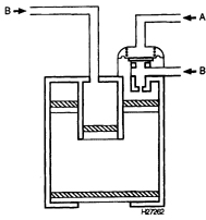
2. Для проверки бачка отсоедините шланги и подуйте в штуцер А, – воздух проходить не должен. Через штуцера В воздух должен проходить свободно. В противном случае бачок замените.
3. Для проверки снимите соленоидный клапан.

4. Воздух должен свободно проходить только через штуцера А и С на обесточенном клапане. Если на клапан подать напряжение, то воздух должен проходить только через штуцера А и В.
5. При отрицательных результатах проверки клапан замените.
БАЧОК С ПОГЛОТИТЕЛЕМ

Бачок с поглотителем
на инжекторных двигателях
Замена
ПОРЯДОК ВЫПОЛНЕНИЯ
1. Обозначьте трассу пролегания каждого шланга и порядок присоединения шлангов к бачку.
2. Ослабьте хомуты и отсоедините шланги.
3. Достаньте бачок из кронштейна.
4. Установите бачок в обратном порядке.
ТЕРМОВАКУУМНЫЙ РАСПРЕДЕЛИТЕЛЬНЫЙ КЛАПАН (ТВР)

Термовакуумный
распределительный клапан (карбюраторные двигатели)
ТВР-клапан (указан стрелкой) ввернут во всасывающий коллектор. Замена Работы выполняются на холодном двигателе.
ПОРЯДОК ВЫПОЛНЕНИЯ
1. Слейте жидкость до уровня клапана, или приготовьте заглушку.
2. Отсоедините от ТВР шланги.
3. Осторожно выверните ТВР из коллектора, снимите прокладку.
4. Установите ТВР в обратном порядке. Замените прокладку.
СОЛЕНОИДНЫЙ КЛАПАН Замена
ПОРЯДОК ВЫПОЛНЕНИЯ
1. Снимите воздуховод.
2. Отсоедините батарею от массы, отсоедините от клапана разъем.
3. Обозначьте порядок присоединения шлангов на клапане.
4. Ослабьте хомуты и отсоедините шланги, достаньте клапан.
5. Установите клапан в обратном порядке.
Проверка и замена агрегатов систем снижения токсичности - Система вентиляции
картера
ОБЩИЕ СВЕДЕНИЯ
Уход за системой сводится к осмотру шлангов и периодической замене фильтра.
...
Система рециркуляции
ОБЩИЕ СВЕДЕНИЯ
В состав системы входят клапан рециркуляции, обратный клапан и термовакуумный распределительный
клапан (ТВР).Проверка на карбюраторных двигателях
ПОРЯДОК ВЫПОЛНЕНИЯ
1. Для проверк ...
Другое на сайте:
Прокачка гидравлического привода сцепления
Если у вас в распоряжении не имеется применяемого обычно для этой цели в мастерской
устройства, можете прокачать сцепление тем же методом, что и тормозную систему (глава
«Тормозная система») или, ...
Идентификационные номера
ИДЕНТИФИКАЦИОННЫЙ НОМЕР АВТОМОБИЛЯ (VIN)
Идентификационный номер автомобиля (VIN) выгравирован в центре противопожарной
перегородки.
НОМЕР ДВИГАТЕЛЯ
Номер бензинового двигателя выбит на пер ...
Переключатель перегрузки
Проверка
ПОРЯДОК ВЫПОЛНЕНИЯ
1. Снимите центральную секцию передней панели.
2. Отсоедините провода от переключателя перегрузки и контрольной лампы.
3. Проверьте сопротивление между выводами 1 и ...
