Toyota Corolla: Система рециркуляции (EGR-система)

Устройство системы рециркуляции
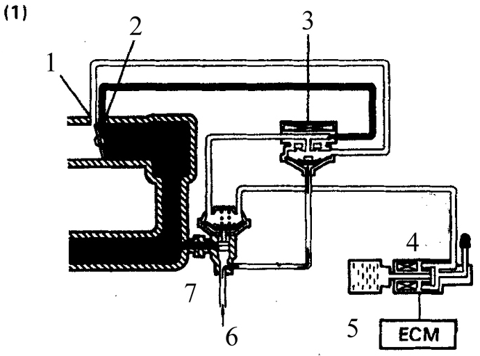
1. Клапан рециркуляции
2. Вакуумный распределитель
3. Канал R
4. Канал E
5. Электропневмоклапан
6. к (1) – (4)

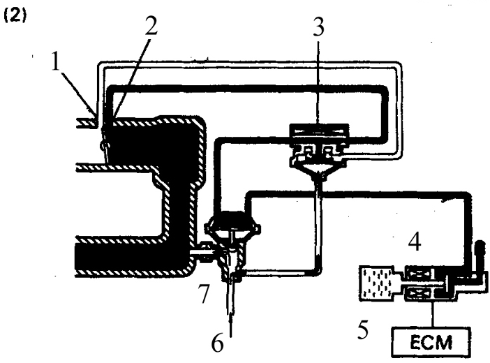
1. Канал R
2. Канал E
3. Вакуумный распределитель
4. Электропневмоклапан
5. Блок управления
6. От выпускного коллектора
7. Клапан рециркуляции

1. Канал R
2. Канал E
3. Вакуумный распределитель
4. Электропневмоклапан
5. Блок управления
6. От выпускного коллектора
7. Клапан рециркуляции

1. Канал R
2. Канал E
3. Вакуумный распределитель
4. Электропневмоклапан
5. Блок управления
6. От выпускного коллектора
7. Клапан рециркуляции

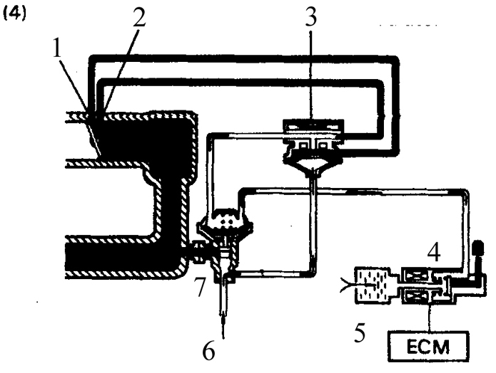
1. Канал R
2. Канал E
3. Вакуумный распределитель
4. Электропневмоклапан
5. Блок управления
6. От выпускного коллектора
7. Клапан рециркуляции
Схема работы типовой системы рециркуляции
Часть 1

Часть 2


** Когда дроссельная заслонка соединяет с впускной магистралью оба канала распределителя, последний за счет создаваемого разрежения открывает клапан рециркуляции, обеспечивая впуск отработанных газов даже при низком давлении выхлопа.
*** Вакуумный распределитель включен, когда произведение скорости вращения двигателя
на показание датчика разрежения превысит некоторое заданное значение.
**** Если перемыкаются выводы ТЕ1 и Е1 разъема передачи данных, то вакуумный
распределитель включается.
Для снижения содержания окислов азота предусмотрено снижение температуры сгорания
за счет перенаправления части этих газов через клапан рециркуляции во всасывающий
коллектор.
Данная система устанавливается на автомобили, продаваемые в тех регионах, в
которых действуют жесткие нормы на загрязнение окружающей среды выхлопными
газами.
Система рециркуляции состоит из клапана рециркуляции, вакуумного распределителя,
электропневмоклапана, электронного блока управления и датчика температуры.
КЛАПАН РЕЦИРКУЛЯЦИИ
Проверка
ПОРЯДОК ВЫПОЛНЕНИЯ
1. Запустите двигатель и оставьте работать на холостом ходу.
2. Отсоедините вакуумный шланг от клапана рециркуляции и на его место подключите
портативный вакуумный насос.
3. Создайте разрежение на клапане рециркуляции. Разрежение должно быть устойчивым,
а двигатель должен начать работать с перебоями.
4. Если разрежение неустойчиво и двигатель работает, продолжает работать без перебоев,
то клапан рециркуляции замените.
5. Если вакууметр показывает устойчивое разрежение, но двигатель работает без перебоев,
то снимите клапан рециркуляции и проверьте чистоту клапана и всасывающего коллектора.
При необходимости очистите или замените указанные детали.
ФИЛЬТР ВАКУУМНОГО РАСПРЕДЕЛИТЕЛЯ
Проверка
ПОРЯДОК ВЫПОЛНЕНИЯ
1. Снимите вакуумный распределитель.
2. Снимите крышку и проверьте состояние фильтров.
3. Очистите или смените фильтры, установите на место крышку и вакуумный распределитель.
СИСТЕМА РЕЦИРКУЛЯЦИИ
Проверка
ПОРЯДОК ВЫПОЛНЕНИЯ

1. Отсоедините шланг от клапана рециркуляции и соедините вакуумный распределитель с клапаном рециркуляции через тройник с вакууметром.

2. Запустите двигатель и соедините выводы ТЕ1 и Е1 диагностического разъема.
3. Пока двигатель не прогрелся (температура ниже 45° С) убедитесь, что при скорости
вращения 2500 об/мин показания вакууметра отсутствуют. На теплом двигателе при скорости
вращения 2500 об/мин вакууметр должен показывать низкое разрежение. На полностью
прогретом двигателе при увеличении скорости вращения до 2500 об/мин вакууметр должен
также показывать низкое разрежение.
4. Проверьте электропневмоклапан. Электропневмоклапан смонтирован на всасывающем
коллекторе.

5. Проверьте сопротивление электропневмоклапана, которое должно быть в пределах
от 37 до 44 Ом.
6. При неудовлетворительных результатах проверки электропневмоклапан замените.
КЛАПАН РЕЦИРКУЛЯЦИИ
Замена деталей системы
ПОРЯДОК ВЫПОЛНЕНИЯ
1. Отсоедините батарею от массы.
2. Снимите корпус воздушного фильтра.
3. Отсоедините от камеры дроссельной заслонки трос привода (см. подраздел 5.12).
4. Снимите камеру дроссельной заслонки с всасывающего коллектора (см. подраздел
5.12).
5. Снимите вакуумный распределитель (см. ниже).
6. Снимите трубку рециркуляции.

7. Отверните болты крепления клапана рециркуляции и снимите клапан.
8. Клапан рециркуляции устанавливается в обратном порядке.
ВАКУУМНЫЙ РАСПРЕДЕЛИТЕЛЬ СИСТЕМЫ РЕЦИРКУЛЯЦИИ
Замена
ПОРЯДОК ВЫПОЛНЕНИЯ
1. Отсоедините вакуумные шланги, предварительно пометив их, и достаньте вакуумный
распределитель из кронштейна.
2. Вакуумный распределитель устанавливается в обратном порядке.
Система улавливания паров бензина
Система улавливания паров бензина
A. Пробка заливной горловины
В. Контрольный клапан
С. Термопневмоклапан
D. Бачок с поглотителем
E. Канал Р
Режим работы клапанов
Данная система предназ ...
Система принудительной вентиляции картера (PCV-система)
Устройство системы принудительной вентиляции картера
Система принудительной вентиляции картера предназначена для снижения содержания
углеводородов в выбросах двигателя за счет продувки картера ...
Другое на сайте:
Радиообъявления
о дорожном движении
(TP = Программа о дорожном
движении)
Станции радиообъявлений
о дорожном движении – это RDS-
станции, которые передают
новости о дорожном движении.
Включение и выключение
радиообъявлений о дорож ...
Проверка топливной системы
ПОРЯДОК ВЫПОЛНЕНИЯ
1. Если во время езды или после парковки автомобиля под солнцем ощущается запах
бензина, то топливная система нуждается в безотлагательной проверке.
2. Отверните пробку залив ...
Уплотнители дверей, крышек и окон
Для поддержания упругости резиновых уплотнителей, увеличения сроков их эксплуатации
рекомендуем время от времени обрабатывать их специальным средством по уходу за резиновыми
изделиями. Оно же защи ...
