 Toyota Corolla: Регулировка углов установки колес
Toyota Corolla: Регулировка углов установки колес
				
				

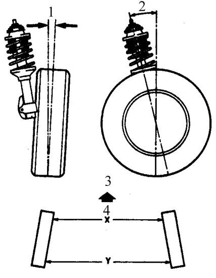
Углы развала, схождения передних колес и угол продольного наклона шкворня
1. Угол развала колес
2. Угол продольного наклона шкворня
3. Передняя часть автомобиля
4. Схождение колес (Y–X)
Регулировка колес – это регулировка углов установки колес по отношению к подвеске 
и дороге. Если колеса не отрегулированы, это не только сказывается на управлении 
автомобилем, но и увеличивает скорость износа шин. Для передних колес обычно регулируется 
схождение, развал и угол продольного наклона шкворня.
Развал и схождение колес подлежат регулировке на моделях выпуска с 1996 года. На 
моделях выпуска до 1995 года единственно возможной регулировкой является регулировка 
схождения колес. На задних колесах можно регулировать только схождение колес. Остальные 
углы установки колес следует измерять для того, чтобы выявить погнутые или износившиеся 
элементы подвески.
Регулировка схождения/ развала колес является очень точной операцией. Для качественной 
регулировки колес необходимо использование сложного и дорогого оборудования. Ввиду 
этого, рекомендуется обратиться к специалистам для регулировки схождения/развала 
колес. Ниже приводится общее описание углов установки колес для того, чтобы дать 
вам общее представление о них, и вы могли лучше разбираться в этом вопросе, когда 
обратитесь в автомастерскую.
Схождение колес это угол, на который колеса повернуты внутрь. Целью регулировки 
схождения колес является то, чтобы колеса шли параллельно. На автомобиле, у которого 
угол схождения колес равен нулю, расстояние между передними краями колес будет таким 
же, как расстояние между задними краями колес. Реально величина схождения колес 
обычно составляет несколько миллиметров. На передних колесах, угол схождения колес 
регулируется положение наконечника рулевых тяг. На задних колесах, он контролируется 
длиной задних поперечных тяг (N2). Неправильная регулировка схождения колес вызовет 
неправильный износ шин, заставляя их тереться о поверхность дороги.
Развал колес – это отклонение колес от вертикали, если смотреть спереди или сзади 
автомобиля. Если колесо отклонено наружу в верхней части, развал положительный (+).
Если колесо отклонено в верхней части внутрь, то развал отрицательный (–). Величина 
отклонения измеряется в градусах от вертикали и это значение зовется углом развала 
колес. От величины этого угла зависит, какое количество дорожек протектора будет 
находиться в контакте с дорогой, также, этот угол необходимо для компенсации изменений 
в геометрии подвески при поворотах и при движении по неровной дороге. Его регулировка 
проводится с использованием специальных инструментов, предназначенных для регулировки 
развала колес.
Угол продольного наклона шкворня – это отклонение оси поворотного шкворня от вертикали. 
Отклонение назад называется положительным наклоном шкворня, и отклонение вперед 
– отрицательным.
 Колеса и шины
Колеса и шины
   
Кодировка метрических размеров шин
1. Тип шины (Р – пассажирская, Т – запасная, С – промышленная)
2. Ширина профиля шины (Высота профиля шины) (в миллиметрах) (185,195,205 и.т.д 
)
3. Отношени ...
    Кузов
Кузов
   Характерной чертой моделей автомобилей, которые описаны в данном руководстве, 
является наличие конструкции типа "Унибоди", в которой используется корытообразный 
элемент пола кузова вмест ...
   Другое на сайте:
Снятие и установка воздушных дефлекторов
   	СНЯТИЕ
ПОРЯДОК ВЫПОЛНЕНИЯ
1. Для снятия воздушных дефлекторов необходимы один или два проволочных крючка, 
которые могут быть изготовлены самостоятельно. 
2. Согните из проволоки инструмен ...
   	
Моторный отсек
   	
Вид моторного отсека (для двигателей 2Е)
1. Щуп измерителя уровня масла в двигателе
2. Бачок стеклоомывателя заднего и ветрового стекол
3. Пробка маслозаливной горловины 
4. Вентиляторы систем ...
   	
Неисправность центрального
замка
   	Разблокирование
Отоприте дверь водителя вручную
поворотом ключа в замке. Другие
двери можно открыть с помощью
внутренних ручек. Для этого ручку
необходимо потянуть дважды.
Крышка горловины топ ...
   	








