Toyota Corolla: Проверка и замена агрегатов EFI -системы

Устройство камеры дроссельной заслонки и сопутствующие детали
1. Воздушный шланг
2. Перепускные шланги охлаждающей жидкости
3. Прокладка
4. Разъем контрольного воздушного клапана холостого хода
5. Кронштейн оболочек тросов
6. Камера дроссельной хаслонки
7. Разъем датчика угла поворота дроссельной заслонки
8. Разъем датчика температуры засасываемого воздуха
9. Крышка корпуса и воздуховод воздушного фильтра
10. Только для автомобилей штата
Калифорния
КАМЕРА ДРОССЕЛЬНОЙ ЗАСЛОНКИ
Проверка
ПОРЯДОК ВЫПОЛНЕНИЯ
1. Убедитесь в плавности хода тяги дроссельной заслонки.
2. Запустите двигатель, отсоедините вакуумный шланг и с помощью вакууметра убедитесь,
что на холостом ходу разрежение отсутствует. Разрежение должно быть на остальных
режимах работы двигателя.
Замена
* Работы выполняются на холодном двигателе.
ПОРЯДОК ВЫПОЛНЕНИЯ
1. Слейте жидкость из системы охлаждения (см. подраздел 2.8.4), отсоедините батарею
от массы (имейте в виду, что при этом стираются коды включения магнитолы).
2. Ослабьте хомуты и снимите воздуховод. Отсоедините от рычага привода заслонки
трос привода (см. подраздел 5.10).
3. Снимите кронштейн троса (если имеется) и отведите в сторону (доставать трос из
кронштейна не надо).
4. Если автомобиль оборудован автоматической трансмиссией, то отсоедините трос дроссельной
заслонки от тяги (см. подраздел 7.2.4) отсоедините кронштейны троса от двигателя
и отведите в сторону.
5. Отсоедините от камеры дроссельной заслонки все вакуумные шланги, предварительно
нанеся на них четкие метки.
6. Отсоедините разъем датчика угла поворота дроссельной заслонки.
7. Отверните четыре болта крепления камеры дроссельной заслонки (указаны стрелками).
На некоторых двигателях потребуется отвернуть два болта и две гайки.
8. Снимите с впускного коллектора камеру дроссельной заслонки и прокладку (см. рис.
Устройство камеры дроссельной заслонки и сопутствующие детали).
9. Мягкой щёткой и очистителем карбюратора тщательно очистите все литые поверхности
корпуса, затем продуйте все каналы сжатым воздухом.
* Запрещается промывать датчик угла поворота дроссельной заслонки каким-либо средством. Тщательно протрите датчик чистой мягкой тканью.
Установка
ПОРЯДОК ВЫПОЛНЕНИЯ
1. Установка выполняется в обратном порядке.
2. Затяните болты и гайки корпуса с моментом, указанным в подразделе 5.1.
3. После окончания работ залейте охлаждающую жидкость (см. подраздел 2.8.4).
ДАТЧИК УГЛА ПОВОРОТА

Датчик поворота дроссельной заслонки для двигателей 1,3 л
Таблица проверки датчика поворота дроссельной заслонки для двигателей 1,3 л


Датчик поворота дроссельной заслонки для двигателей 1,6 и 1,8 л
Таблица проверки датчика поворота дроссельной заслонки для двигателей 1,6 л и 1,8 л

Проверка
ПОРЯДОК ВЫПОЛНЕНИЯ
1. Отсоедините разъем датчика угла поворота дроссельной заслонки. На автомобилях для штата Калифорния на датчик угла поворота подайте разрежение.

2. Между винтом дроссельной заслонки и ограничителем проложите щуп заданной толщины.

3. Омметром измерьте сопротивление между указанными в таблице парами выводов,
прокладывая щупы различной толщины.
4. Если измеренное сопротивление отличается от указанного в таблице, то между ограничительным
рычагом и винтом дроссельной заслонки проложите щуп толщиной 0,7 мм (для двигателей
1,6 л и 1,8 л) и 0,6 мм (для двигателей 1,3 л) и подключите омметр к выводам IDL
и Е2. Отпустите винты крепления датчика и медленно поворачивайте датчик по часовой
стрелке до тех пор пока омметр не покажет разрыв.
5. Затяните винты и с помощью щупов заданной толщины снова проверьте наличие замкнутой
цепи между указанными выводами.
Замена
ПОРЯДОК ВЫПОЛНЕНИЯ

1. Если регулировкой не удается добиться заданных сопротивлений, то снимите датчик
и замените (стрелками указаны винты).
2. Отрегулируйте в соответствии с п. 4.
РЕГУЛЯТОР ДАВЛЕНИЯ ТОПЛИВА
Проверка
См. описание порядка проверки насоса и давления топлива в подразделе 5.3 .
Замена
ПОРЯДОК ВЫПОЛНЕНИЯ
1. Выполните декомпрессию топливной системы (см. подраздел 5.2) и отсоедините батарею
от массы (имейте в виду, что будут уничтожены коды магнитолы).
2. Отсоедините от регулятора вакуумный шланг.
3. Подставьте под обратный топливный шланг металлический сосуд или поддон.
4. На двигателях 1,3 л отверните болт штуцера шланга обратного бензопровода типа
"банджо", снимите шайбы и отсоедините обратный бензопровод от регулятора давления
топлива. На двигателях 1,6 и 1,8 л ослабьте хомут, стяните хомут по шлангу и отсоедините
шланг обратного бензопровода от регулятора давления топлива.

5. Отверните болты крепления регулятора давления топлива и снимите регулятор с распределителя топлива.

6. Замените уплотнительное кольцо и убедитесь в правильности установки регулятора
давления (1) на распределитель (2 – топливная магистраль). Если регулятор установлен
с перекосом, то уплотнение будет нарушено.
7. Далее установка выполняется в обратном порядке. На двигателях 1,3 л замените
медные шайбы с каждой стороны штуцера.
КОНТРОЛЬНЫЙ ВОЗДУШНЫЙ КЛАПАН ХОЛОСТОГО ХОДА ( ДЛЯ ДВИГАТЕЛЕЙ 1,6 И 1,8 Л)
* Обороты холостого хода двигателя устанавливаются изготовителем и при эксплуатации в нормальных условиях их регулировка не требуется. Однако, если производилась замена камеры дроссельной заслонки или имеются подозрения на то, что регулировка оборотов холостого хода нарушалась (например, винт холостого хода выворачивался из камеры дроссельной заслонки), то автомобиль следует сдать в службу автосервиса, или в специализированную мастерскую.
Проверка

Подключение тахометра к выводу IG(–) диагностического разъема
ПОРЯДОК ВЫПОЛНЕНИЯ
1. Поставьте автомобиль на ручной тормоз, рычаг управления КПП установите в нейтральное
положение (механическая КПП) или в положение Park (автоматическая трансмиссия),
заблокируйте ведущие колеса. Подключите тахометр к выводу IG(–) диагностического
разъема (см. рис. Подключение тахометра к выводу IG(–) диагностического разъема).
Запустите двигатель и прогрейте до нормальной рабочей температуры. Считайте обороты
холостого хода и сравните с нормативным значением в подразделе 5.1.
2. Перемычкой замкните накоротко выводы ТЕ1 и Е1 диагностического разъема.
3. Обороты холостого хода должны возрасти от 1000 об/мин до 1200 об/мин в течение
5 секунд, а затем снизиться до первоначальных. Если обороты холостого хода повышаются
и снижаются как указано выше, клапан исправен. Если двигатель ведет себя иначе,
то проверьте сопротивление воздушного клапана.
4. Снимите перемычку.
5. Отсоедините разъем клапана.
6. Измерьте сопротивление между средним выводом и каждым из двух остальных выводов.
Сравните сопротивление клапана со значением указанным в подразделе 5.1. Если сопротивление
в норме, то клапан исправен и надо проверить проводку или блок управления. Если
сопротивление отличается от нормативного, то клапан замените.
7. Подключите к клапану отсоединенный разъем.
Замена
ПОРЯДОК ВЫПОЛНЕНИЯ
1. Снимите камеру дроссельной заслонки.
* Доступ к контрольному воздушному клапану затруднен, поэтому для правильной установки нового клапана рекомендуется снять камеру дроссельной заслонки.
2. Отверните винты и снимите клапан с прокладкой.
3. Клапан устанавливается в обратном порядке. Перед сборкой замените прокладку клапана.
РАСПРЕДЕЛИТЕЛЬ ТОПЛИВА И ФОРСУНКИ
Проверка
Выполните проверки системы впрыска (см. подраздел 5.11).
Замена
ПОРЯДОК ВЫПОЛНЕНИЯ
1. Выполните декомпрессию топливной системы (см. подраздел 5.2).
2. Отсоедините батарею от массы.
3. Отсоедините от головки цилиндров и всасывающего коллектора шланг системы вентиляции
картера.
4. На двигателях 1,6 и 1,8 л снимите крышку всасывающего коллектора (см. ниже п.п.
1–10).

5. Нанесите четко различимые метки на каждый разъем форсунки. Отсоедините разъемы
от форсунок и отведите проводку в сторону. На двигателях 1,3 л отверните болт и
отсоедините проводку от стойки смесителя. Отверните гайку и болт и снимите стойку.
6. Отсоедините от распределителя топлива зондовый вакуумный шланг.
7. Отсоедините от регулятора давления и распределителя топливные шланги.

8. Отверните болты крепления распределителя топлива (указаны стрелками).

9. Снимите распределитель с форсунками.
10. Достаньте из распределителя форсунки и положите в коробку c индивидуальной меткой.

11. Если форсунки меняться не будут, то замените кольца (фото слева) и уплотнители
(фото справа).
12. Форсунки устанавливаются в обратном порядке.
13. Затяните болты крепления распределителя топлива с моментом указанным в подразделе
5.1.
КЛАПАН КОМПЕНСАЦИИ ОБОРОТОВ ХОЛОСТОГО ХОДА ПРИ ВКЛЮЧЕНИИ КОНДИЦИОНЕРА
Проверка
ПОРЯДОК ВЫПОЛНЕНИЯ
1. Поставьте автомобиль на ручной тормоз, рычаг управления КПП установите в нейтральное
положение (механическая КПП) или в положение Park (автоматическая трансмиссия),
заблокируйте ведущие колеса. Подключите тахометр к выводу IG(–) диагностического
разъема (см. рис. Подключение тахометра к выводу IG(–) диагностического разъема).
Запустите двигатель и прогрейте до установления нормальных рабочей температуры и
оборотов холостого хода. Включите кондиционер.
2. Перемычкой замкните накоротко выводы ТЕ1 и Е1 диагностического разъема.
3. Обороты холостого хода должны возрасти от 1000 об/мин до 1200 об/мин в течение
3 секунд после перемыкания выводов, а затем снизиться до первоначальных. Спустя
15 секунд снова проверьте обороты холостого хода, число оборотов должно примерно
на 100 об/мин превышать нормальное значение. Если обороты холостого хода изменяются
так как описано выше, то клапан исправен. Если обороты повышаются более чем на 100
об/мин, то отрегулируйте диапазон оборотов холостого хода, вращая регулировочный
винт. Если обороты двигателя не меняются или уменьшаются, то проверьте сопротивление
клапана компенсации.
4. Снимите перемычку.
5. Отсоедините от клапана разъем.

6. Измерьте сопротивление между выводами. Сопротивление должно быть в пределах 30–34 Ом. Если сопротивление в норме, то клапан исправен и надо проверить проводку или блок управления. Если сопротивление отличается от нормативного, то клапан замените (см. ниже).

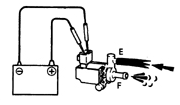
7. Подайте на выводы напряжение от батареи и убедитесь, что воздух проходит из канала E в канал F.
* Канал Е расположен вверху, а канал F – нижний.
8. Снимите напряжение и убедитесь, что из канала E в канал F воздух не проходит.
9. Если результаты испытаний неудовлетворительные, то клапан замените.
Замена
ПОРЯДОК ВЫПОЛНЕНИЯ
1. Отверните винты крепления и снимите клапан с прокладкой.
2. Клапан устанавливается в обратном порядке.
3. Перед установкой клапана замените прокладку.
КРЫШКА CМЕСИТЕЛЬНОЙ КАМЕРЫ ВПУСКНОГО КОЛЛЕКТОРА ( ДЛЯ ДВИГАТЕЛЕЙ 1,6 И 1,8 Л)
Снятие
* Работы выполняются на холодном двигателе.
ПОРЯДОК ВЫПОЛНЕНИЯ
1. Отсоедините батарею от массы.
2. Отсоедините разъемы от клапана компенсации, датчика поворота дроссельной заслонки
и от соленоида систем рециркуляции и улавливания паров бензина.
3. Отсоедините от камеры дроссельной заслонки трос привода (см. подраздел 5.10)
и тягу трансмиссии (см. подраздел 7.2.4) .
4. Отсоедините трос привода от впускного коллектора (см. подраздел 5.10).
5. Предварительно пометив, отсоедините вакуумные шланги от крышки смесительной камеры,
клапана рециркуляции (если имеется) и регулятора давления топлива.
6. Отсоедините шланг системы вентиляции картера на крышке смесительной камеры.
7. Отверните болт и снимите кронштейн (если предусмотрен).
8. Отсоедините от камеры дроссельной заслонки шланги охлаждающей жидкости. Шланги
заглушите.

9. Отверните болты крепления крышки смесительной камеры (указаны стрелками) и
нижние (боковые) болты.
10. Снимите с нижнего впускного коллектора крышку смесительной камеры в сборе с
камерой дроссельной заслонки.
Установка
ПОРЯДОК ВЫПОЛНЕНИЯ
1. Очистите и проверьте состояние разъемных плоскостей нижнего впускного коллектора
(см. подраздел 3.1.1.4) и смесительной камеры.
2. Замените прокладку нижнего впускного коллектора.
3. Установите на впускной коллектор крышку смесительной камеры в сборе с камерой
дроссельной заслонки.
4. Убедитесь в правильности установки прокладки.
5. Заверните болты крепления к впускному коллектору, затяните болты с моментом указанным
в подразделе 3.1.1.1.
6. Далее установка выполняется в обратном порядке.
КОНТРОЛЬНЫЙ ВОЗДУШНЫЙ КЛАПАН (ДВИГАТЕЛЬ 1,3 Л)
Проверка
ПОРЯДОК ВЫПОЛНЕНИЯ
1. Отсоедините разъем от контрольного воздушного клапана, клапан расположен с обратной
стороны впускного коллектора.
2. Измерьте сопротивление между выводами клапана. Сопротивление должно быть в пределах
30–33 Ом. Если сопротивление в норме, то клапан исправен. Если сопротивление отличается
от нормативного, то клапан замените.
3. Продуйте клапан со стороны диафрагмы и убедитесь, что воздух через нижний штуцер
не проходит.
4. Подайте на выводы напряжение от батареи и убедитесь, что воздух выходит из канала
F.
5. Если результаты испытаний неудовлетворительные, то клапан замените.
Замена
ПОРЯДОК ВЫПОЛНЕНИЯ
1. Отверните винты крепления и снимите клапан с прокладкой.
2. Клапан устанавливается в обратном порядке.
Система электронного впрыска топлива (EFI–система)
Система электронного впрыска топлива ( EFI-система) для двигателей 1,6 и 1,8
л ( двигатели 1,3 л оборудованы аналогичной системой)
1. Датчик концентрации кислорода
2. Датчик температуры охлаждаю ...
Обслуживание выхлопной системы
Детали выхлопной системы
1, 3, 4. Прокладка
2. Передняя секция
5. Кронштейн
6. Каталитический нейтрализатор
7. Средняя секция
8, 9, 10, 11. Теплоизоляционный щиток
12. Кольцо
13. Кронштейн ...
Другое на сайте:
Система зажигания, топливные форсунки (ЭБУ типа IEFI-S)
ОБЩИЕ СВЕДЕНИЯ.
К1 ЭБУ.
11 Катушка зажигания.
Y1 Блок зажигания.
Y2 Распределитель зажигани.
Y3 Топливные форсунки
Система зажигания, топливные форсунки (ЭБУ типа IEFI-S) ...
Поиск неисправностей по диагностическим кодам - код неисправности P0130/P0136
ПРИНЦИП РАБОТЫ И НАЗНАЧЕНИЕ
Электронный блок управления двигателем использует сигнал кислородного датчика
для поддержания состава воздушнотопливной смеси около отношения, при котором достигается ...
Блок цилиндров
ОБЩИЕ СВЕДЕНИЯ
Обозначение размерных
групп цилиндров и коренных подшипников коленвала А. Обозначение размерных групп
цилиндров В. Обозначение размерных групп коренных подшипников коленвала
Очис ...
