Hyundai Elantra: Опоры силового агрегата - установка
ОПОРА КОРОБКИ ПЕРЕДАЧ
1. Для того чтобы ограничитель опоры не перемещался убедитесь, что он правильно вставлен во внутреннюю трубку опоры.

2. Установите ограничитель опоры на место, убедившись в правильности его расположения.
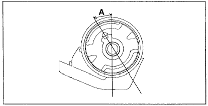
ПЕРЕДНЯЯ ОПОРА ДВИГАТЕЛЯ

1. Установите опору двигателя так, чтобы она располагалась под правильным углом (А) к кронштейну.
Модели с АКПП : 27° - 33° Модели с МКПП : 11° - 17°
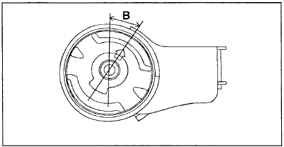
ЗАДНЯЯ ОПОРА ДВИГАТЕЛЯ

1. Установите опору двигателя так, чтобы она располагалась под правильным углом (В) к кронштейну.
Модели с АКПП : 30° - 36° Модели с МКПП : 17° - 23°
ОПОРНЫЕ ВТУЛКИ ПОДРАМНИКА
ПРИМЕЧАНИЕ
• Опорные втулки передней и задней поперечных балок подрамника являются направляющими.
• Убедитесь, что опорные втулки правильно ориентированы при установке.
1. В двух местах на верхней поверхности поперечных балок подрамника и верхней поверхности соответствующих опорных втулок имеются метки (в виде стрелок) направления установки.

2. При установке опорных втулок во внутренние трубки поперечных балок подрамника совместите направление стрелки на втулке с направлением стрелки на поперечной балке подрамника.

ПРИМЕЧАНИЕ
Проверьте, что перед установкой стрелка на опорной втулке расположена параллельно стрелке на поперечной балке подрамника. Убедитесь, что направление стрелки на установленной опорной втулке отклоняется не более чем на ± 3 градуса от направления стрелки на поперечной балке подрамника.
Опоры силового агрегата - снятие
ОПОРЫ ДВИГАТЕЛЯ
СНЯТИЕ
1. Закрепите двигатель на траверсе за кронштейны крепления и повесьте ее на подъемнике,
затем немного приподнимите двигатель в сборе для разгрузки опор от веса сило ...
Двигатель и коробка передач в сборе - снятие
1. Снимите аккумуляторную батарею.
2. Отсоедините воздуховод воздушного фильтра.
3. Отсоедините разъемы датчика-выключателя фонарей заднего хода и жгута проводов
двигателя.
4. На моделях с 5-ст ...
Другое на сайте:
Уплотнители дверей, крышек и окон
Для поддержания упругости резиновых уплотнителей, увеличения сроков их эксплуатации
рекомендуем время от времени обрабатывать их специальным средством по уходу за резиновыми
изделиями. Оно же защи ...
Радиообъявления
о дорожном движении
(TP = Программа о дорожном
движении)
Станции радиообъявлений
о дорожном движении – это RDS-
станции, которые передают
новости о дорожном движении.
Включение и выключение
радиообъявлений о дорож ...
Проверка топливной системы
ПОРЯДОК ВЫПОЛНЕНИЯ
1. Если во время езды или после парковки автомобиля под солнцем ощущается запах
бензина, то топливная система нуждается в безотлагательной проверке.
2. Отверните пробку залив ...
